J29W Pressure Gauge Needle Valve
manufacturer: Kaiweixi Valve Group Co., Ltd
Eml: Merry@kaiweixi.com
Tel: +86 (577) 67038872
Mob: +86 18157711652(WeChat Same Account)
product drawing

J29W Pressure Gauge Needle Valves
Overview
The J29W pressure gauge needle valve is a small-bore instrument valve specifically designed for pressure gauge root installation, featuring male thread connections. It is operated by rotating the handwheel to drive the stem and needle-type disc for precise opening and closing. Its sealing surface is directly machined from the valve body material (“W” type), forming a metal-to-metal hard seal. This valve is primarily used for pressure gauge root isolation, instrument isolation, pipeline sampling, and draining/venting. It can be installed directly between the pressure gauge and the process pipeline, facilitating online removal, calibration, and maintenance of pressure gauges. It serves as a critical instrument protection device in industries such as petroleum, chemical, power generation, and pharmaceuticals, ensuring safe and reliable operation of measurement systems.
Features:
1.Designed specifically for pressure gauges: Compact structure allows direct installation at the pressure gauge root, facilitating online removal, calibration, and maintenance.
2.Male thread connections for easy installation: Both ends feature standard male threads (such as M20×1.5, G1/2, NPT1/2) matching pressure gauge and pipeline ports, ensuring simple installation and reliable sealing.
3.Needle-type disc for precise regulation: The needle disc cooperates with the seat to enable precise adjustment and control of small flow rates with excellent regulation performance.
4.Metal-to-metal hard seal for reliability: Sealing surfaces are directly machined from stainless steel, forming a wear-resistant metal-to-metal hard seal with long service life.
5.All-stainless steel corrosion resistance: Body and main components are made of 304/316 stainless steel, providing excellent corrosion resistance for various corrosive media.
6.High-pressure design: Robust body structure withstands high working pressures, suitable for high-pressure applications.
7.Reliable stem sealing: Multi-layer packing or PTFE sealing with gland prevents external leakage.
8.Compact structure for space adaptability: Small size and light weight make it ideal for space-limited installations.
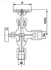
Dimensions & constructral diagram

J29W Pressure Gauge Needle Valve constructral diagram
Parts List
| Part name | Body | Stem | Valve Base | Packing | Gland Bonnet | Handwheel |
|---|---|---|---|---|---|---|
| J29H/W-320-DN3 | Carbon steel | Chrome stainless steel | Carbon steel | PTFE | Carbon steel | High-quality carbon steel |
| J29H/W-320P-DN6 | Chrome-nickel stainless steel | Chrome stainless steel | Chrome-nickel stainless steel | Flexible graphite | Stainless steel | Stainless steel |
Performance Specification Sheet
| Model | Nominal Pressure | Test Pressure (MPa) | Working Pressure | Working Temperature | Applicable Medium | ||
|---|---|---|---|---|---|---|---|
| (MPa) | Casing | Seal (liquid) | Seal (gas) | (MPa) | (°C) | ||
| J29H/W-320 | 32.0 | 48.0 | 35.2 | 0.6 | 32.0 | P≤540°C | Liquefied petroleum gas, water, acid, steam, oil products, etc. |
| J29H/W-320P | 32.0 | 48.0 | 35.2 | 0.6 | 32.0 | C≤425°C | |
Outline dimension table
| Model | Nominal diameter | Size | Weight (kg) | |||||||
|---|---|---|---|---|---|---|---|---|---|---|
| DNmm | L1 | D1 | D2 | L2 | H | H1 | M1 | M2 | ||
| J29H/W-320 | 3 | 60 | 65 | 50 | 65 | 85 | 93 | M14×1.5 | M20×1.5 | 1.0 |
| J29H/W-320P | 6 | 60 | 65 | 50 | 65 | 85 | 93 | M14×1.5 | M20×1.5 | 1.0 |



